Nếu bạn từng dùng AirPods, chắc bạn cũng quen với việc chạm hoặc vuốt lên thân tai nghe để điều khiển nhạc. Về bản chất, hệ thống hiện nay dựa vào cảm biến chạm giống trên màn hình điện thoại. Nó hoạt động ổn, nhưng vẫn có độ trễ nhỏ và cần thêm phần cứng riêng, khiến tai nghe phải gánh thêm linh kiện, trọng lượng và độ phức tạp.
Trong một bằng sáng chế mới, Apple đưa ra ý tưởng khá táo bạo. Thay vì dùng cảm biến chạm riêng, AirPods trong tương lai có thể dùng chính anten sóng vô tuyến bên trong để nhận biết cử chỉ của người dùng. Nói cách khác, tai nghe sẽ dùng thứ nó vốn có để phát nhạc và kết nối Bluetooth làm luôn nhiệm vụ “cảm” cái chạm của bạn.

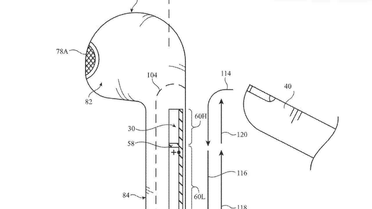
Anten trong AirPods liên tục gửi và nhận tín hiệu không dây. Khi bạn đưa tay lại gần, chạm hoặc vuốt lên thân tai nghe, môi trường điện từ quanh anten sẽ thay đổi. Apple gọi sự thay đổi đó là thay đổi trở kháng. Nếu đo được những biến đổi rất nhỏ này đủ chính xác, hệ thống có thể biết bạn đang chạm ở đâu, vuốt theo hướng nào, hay vừa nhấc tay ra khỏi tai nghe.
Hiểu nôm na, AirPods sẽ cảm nhận ngón tay bạn thông qua chính sóng vô tuyến đang truyền nhạc. Không cần thêm lớp cảm biến nào, không cần bề mặt đặc biệt, chỉ cần tín hiệu radio và thuật toán xử lý phía sau.
Nếu công nghệ này thành hiện thực, tai nghe có thể gọn nhẹ hơn và phản hồi cũng nhanh hơn. Khi bạn vuốt để tăng âm lượng hay chuyển bài, lệnh điều khiển gần như được xử lý đồng thời với dòng âm thanh, thay vì có độ trễ nhỏ như hiện tại. Cảm giác điều khiển có thể mượt và “liền” hơn, giống như bạn đang chạm trực tiếp vào âm nhạc.
Tất nhiên, đây mới chỉ là một bằng sáng chế. Apple mỗi năm đăng ký rất nhiều ý tưởng, và không phải cái nào cũng xuất hiện trên sản phẩm thật. Nhưng hướng đi này cho thấy họ đang cố gắng tinh giản phần cứng, biến những thành phần sẵn có như anten thành những công cụ đa năng hơn.
Mình khá thích kiểu tư duy đó. Thay vì nhồi thêm linh kiện, họ tìm cách làm cho những thứ đã có trở nên thông minh hơn. Biết đâu vài năm nữa, khi bạn chỉ cần lướt nhẹ ngón tay trên thân AirPods mà âm lượng thay đổi mượt mà, thì chính mấy cái anten bé xíu bên trong đang lặng lẽ làm việc để “cảm” từng cái chạm của bạn.